2017年时候就搞了套米家网关+zigbee的智能设备做测试用,2018年装修就全屋用米家搭建了智能家居。那时设备用zigbee协议几乎能做到信号覆盖广且有毫秒级的响应速度。只是授权费有点贵小米之后几年就弃用这协议改蓝牙了,价格便宜了但是使用效果真是一言难尽……装修时候都是智能开关也就没做双联,基本上都是喊小爱同学开灯关灯的。现在家里zigbee、蓝牙、BLE Mesh和WiFi都有,协议的不统一、本地执行和远程执行等造成设备响应速度有快有慢。有段时间小爱同学操作设备延迟能有5~6秒才执行,最终在DNS缓存上测试半年来提速效果显著也最稳定
目前自用方案:PVE虚拟爱快作为主路由,创建CT两台LXC并各自装一套独立的AdGuardHome
Debian-A运行AdGuardHome-A去广告和缓存加速(只给手机、PC、电视使用,建议自己多试错来调整到合适自己的配置方案)
Debian-B运行AdGuardHome-B只做缓存加速(过滤器不加任何规则)
今天主要说的是AdGuardHome-B,设置很简单不需要像去广告那种各种规则,并且在路由里把DNS改成AdGuardHome-B地址

1、设置-DNS设置-上游 DNS 服务器里只填两个自己宽带运营商本地的DNS,因为运营商dns速度最快(2ms-5ms)且只是给小爱音箱等这些智能家居设备用的,不需要去广告也就不怕运营商的屏蔽和劫持,其他dns不要去填
2、勾选并行请求 一般运营商给的DNS是两个,选并行请求就是自动选择给出响应最快的那个
3、后备 DNS 服务器和Bootstrap DNS 服务器都填运营商DNS即可,不放心的再加上
223.5.5.5
223.6.6.6
119.28.28.28
119.29.29.29
180.76.76.76
122.112.208.1
4、DNS 服务配置里速度限制填0 ,勾选启用EDNS客户端子网和禁用IPV6地址的解析(尽量禁用掉IPV6,新出的小爱音箱会用IPV6连接速度很慢)
5、DNS 缓存配置里勾选启用缓存和乐观缓存,缓存大小默认也行加大也行,覆盖最小 TTL 值600、覆盖最大 TTL 值3600
每样设置别忘点保存一下
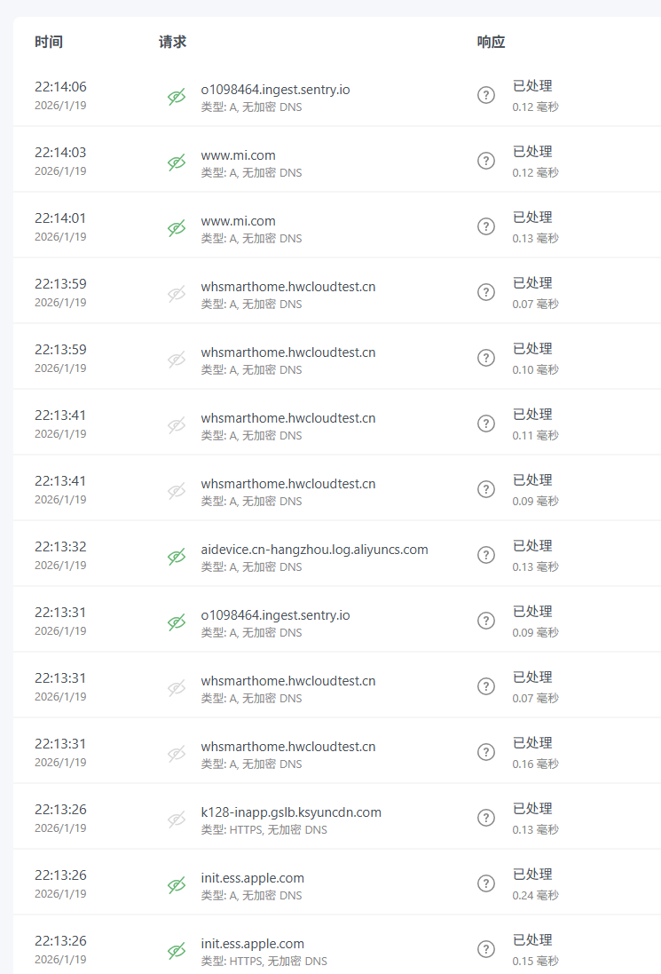
下图就是启用DNS缓存加速后的效果,当然蓝牙本地执行该怎样还是怎样,但是需要远程网络执行的设备提速效果完全不同了,平时用人体感应、人体存在感应和小爱同学操作设备的特别丝滑,基本上算是毫秒级,慢一点基本上0.5秒内都能执行


